手握国内最多IP的阅文集团在近日公布了其截止2019年12月31日的全年业绩公告。财报显示,阅文集团2019年全年营收83.48亿人民币,同比增长65.7%;净利润11.12亿人民币,同比增长21.9%,公司权益持有人应占盈利10.96亿人民币,同比增长20.4%。

(阅文集团2019年财报)
这个业绩不仅是阅文,就连背后的腾讯爸爸也是相当满意的。而这个业绩的实现,和2018年收购新丽传媒脱不开关系。这是阅文在自己开发IP的重要布局。
但值得注意的是,虽然收购新丽传媒让阅文集团从传统的网络文学为主的收入结构得到调整和完善,推动阅文集团营收较大幅度增长,但是背后却是新丽传媒连续两年对赌协议未达标。
而刚刚到来的2020年,受到影视寒冬和肖战事件的影响,新丽传媒2020年的对赌协议能否达标也成为一个疑问。新丽传媒将何去何从呢?
三次上市折戟,新丽卖身网文巨头
新丽传媒虽然没有业内的华谊兄弟、光线传媒等上市公司的名气大,甚至许多普通观众都没有听过他的名字,但他们一定都看过新丽传媒出品的作品。《你是我兄弟》、《北京爱情故事》、《搜索》、《父母爱情》、《白鹿原》等高质量电视剧电影均是由新丽传媒出品。

(新丽传媒官网)
深耕影视行业多年,出品影视作品也多次获得国内各项影视奖项,新丽传媒也曾想过上市,但是却屡屡折戟。2012年、2014年和2017年,新丽传媒三次发起IPO,但最终都主动终止了。而在此期间,新丽传媒的主要竞争对手慈文传媒和唐德影视相继通过借壳实现上市。
屡次折戟IPO,再恰逢影视寒冬,新丽传媒的大股东光线传媒终于出手套现了。2018年3月,光线传媒作价33.17亿元将其所持股权全部转让给林芝腾讯科技有限公司。
腾讯接手光线传媒持有的股份后不久,网文巨头阅文集团也看中了新丽传媒。2018年8月,腾讯旗下阅文集团公告,拟不超过155亿元的价格收购新丽传媒100%股权。

阅文集团是国内最大的网文公司,旗下拥有起点中文网、潇湘书院、红袖添香、创世中文网等品牌,据阅文2019年年报显示,2019年平台入驻作家810万位,作品数量达到1220万部,手握一大批高质量IP。

(阅文集团旗下品牌)
有人调侃,“这年头,三百六十行,IP称王”。手握巨量IP的阅文集团成为娱乐行业的最上游,无论是影视、还是游戏,都想蹭大IP的热度。但版权卖出并不意味着这个IP就能得到很好的开发,途中或许会受到影视公司、投资方等多方面的影响而被耽搁。
阅文手中优质的IP越来越多,有财力和能力开发的公司却数量有限。于是阅文开始计划自己推动IP影视化,放大价值链,收购新丽传媒就是重要的一步。拥有丰富影视作品制作和出品经验的新丽传媒和手握大批高质量IP的阅文集团在一起,强强联合,必定会将IP从文字到影视,再到音乐、手游的价值充分开发。
另一方面,也是最重要的一点,传统网文已经达到一个临界点。从2019年年报来看,虽然阅文集团营收得到大幅度增长,但是从营收结构来分析,阅文的传统业务,在线业务相比2018年的收入下滑了。

(阅文集团2019年年报显示,在线业务相比2018年出现下滑)
另外,用户付费数量和付费比例相比2018年也出现下滑。

(阅文集团2019年付费用户及付费率同比2018年出现下滑)
这都说明,仅靠付费阅读和网络广告的收入已经很难实现增长了,相比之下,开发IP、运营版权能更大限度的挖掘IP的价值。
对赌又逢各种失利
另一方面,阅文集团的的高溢价收购新丽传媒引起业内的质疑,认为新丽传媒估值虚高。阅文集团港股受此影响连续四天大跌,市值蒸发200亿港元。为应对业内的质疑,新丽传媒管理层和阅文集团签了对赌协议,新丽传媒承诺2018~2020年连续三年的净利润不低于5亿元、7亿元、9亿元。
新丽传媒在签对赌协议的时候信心满满,但令他们万万没想到的是,接下来他们面对的是接二连三的噩耗。
首先是斥资3亿打造的《如懿传》出师不利,在遭遇了多次审批失败,演员天价片酬被批之后,定档日期不断被推后,从2017年12月一直推到了2018年8月底才播出。因为审批原因,播放平台也从卫视放到了网络,由腾讯视频独播。虽然在2018年年底又重新登录江苏卫视、东方卫视播出,但由于已错过了独播,无法再放在夜间黄金档,于是被放在周一至周五下午剧场。
另外,从观众角度来看,同样题材的电视剧早已拍过不少,观众对这类题材电视剧早已没有什么新鲜感,换而言之,这类题材的电视剧想要成为爆款走红,其难度也比较大。再加上,2018年暑期档上线的同题材网剧《延禧攻略》的前先播出,快速红遍网络,提前预定了2018年爆款网剧,紧跟着播出的《如懿传》可以说是碰上了最糟糕的首播时机。

(《延禧攻略》海报)
接着,被新丽传媒寄予厚望的《情圣2》原本将在被称为“史上最强春节档”上映,但因为吴秀波绯闻突然爆出,人设崩塌,由其担任主演的《情圣2》也被波及,遭到网友的抵制,在春节档之前就宣布撤档,消失在院线。

(《情圣2》海报)
阅文集团2018年年报显示,新丽传媒全年实现净利润为3.24亿元,比承诺了5亿元少了1.76亿元,未达成对赌协议指标。
对此,新丽传媒创始人曹华益向媒体解释称,“低于预期主要是一些项目延期,2018年行业变化比较大,新丽传媒有一些项目没有如期上线”。
但到了2019年,新丽传媒再次遭遇意外。
2019年3月22日,广电总局对各大电视台下达了新规定,至2019年6月,包括武侠、玄幻、历史、神话、穿越、传记、宫斗等在内的所有古装题材网剧、电视剧、网大都不允许播出。“限古令”的实行让新丽传媒雪上加霜。已拍好的古装剧集被压下,上映时间不得不往后拖,不少剧集至今都没有宣布定档。
限古令一过,腾讯视频相继播出了《陈情令》和《庆余年》两部爆款古装网剧,反响虽好,但是这也并没有帮助新丽传媒达成2019年的对赌指标。据阅文集团2019年年报显示,新丽传媒全年实现营收32.36亿元,为阅文集团贡献净利润5.49亿元。
在正在遭受寒冬的影视行业中,这个净利润虽然很亮眼,但是距离阅文收购新丽传媒时签署的对赌协议来说,依旧还差1.51亿元。
2019年,新丽传媒依旧没有完成对赌协议。
卷入肖战事件 最后一年能否达标成谜
三年对赌协议,前两年均未达成对赌指标,2020年对赌关键的第三年能否达成指标也成了一个疑问。在这个关头,网络上爆发了“227事件”,事件核心的艺人肖战被网友扒出与新丽传媒存在千丝万缕的联系。
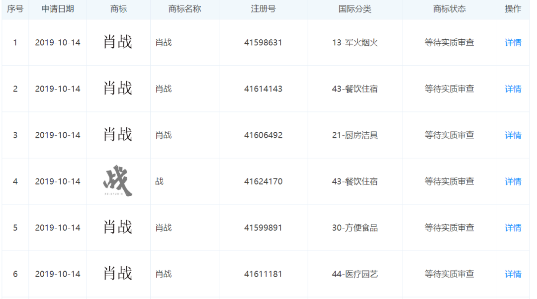
一家名为厦门仲夏之月文化传媒有限公司的公司在2019年10月14日注册了大量关于肖战的商标,这和肖战工作室成立的事件和其使用的logo一致。


(厦门仲夏之月注册的logo与肖战工作室所使用的logo一致)
通过天眼查发现,这家疑似肖战工作室的公司的股权结构中,一位持股50%的股东王力威,同时也是新丽传媒旗下子公司居正影业(天津)有限公司的股东,持有居正影业49%的股份,也是该公司的最终受益人。


(肖战工作室的股东王力威同时也是新丽传媒子公司居正影业的股东)
层层联系之下,肖战和新丽传媒扯上了关系。尽管新丽传媒方面一直否认肖战和公司的关系,但是网友们抵制肖战也影响到了新丽传媒。
新丽传媒和腾讯影业、阅文集团、华娱时代、深蓝影视等联合出品的2019年年度古装大剧《庆余年》,因为肖战曾出演,也被网络的抵制大军在豆瓣上打一星,导致《庆余年》的豆瓣评分不断下滑。
这对正在筹备的《庆余年》第二季来说并不是一个好消息。
另外对于新丽传媒出品的,肖战参演的已杀青的作品《狼殿下》、《余生,请多指教》、《斗罗大陆》来说,冲击更大,能否顺利在2020年定档排播,都是个疑问。而2020年又是新丽传媒对赌协议关键的一年,少了上述剧集的播出,距离能否达成9亿指标又远了一步。
虽然阅文集团对新丽传媒2019年的业绩表示满意,但如果2020年新丽传媒依旧没能达成对赌指标,连续三年未达成对赌协议的新丽传媒还能让阅文,或者背后的腾讯满意,这就难说了。
① 本站遵循行业规范
② 如果对本站有异议,请联系我们